Z3 short shifter conversion
Changing the shifter mechanism can give a much more dynamic feel to the E30 gearbox, giving a much sportier feel to those country lane hoons. Whether you want a snappier gear change for reasons of sportiness or laziness, learn how to convert your gearbox to short shift here.
Contents
Choice of Rod
A number of gear levers are available from the Z-range of cars to change the feel of your gearstick, shown below.
The important thing to look for is the space between the ball joint (in the line) and the selector rod joint (far right). The longer the distance, the shorter the shift.
As you can see, there are a number of options available, but not all of them are practical. The Z3 2.8 lever gives a very switchy feel to the gearstick, with very little needed to shift from 1st to 2nd gear. The Z3-M is the shortest of them all, to the point of putting your synchromesh gears at risk; for that reason we do not recommend the use of this lever.
In this article we will be installing the most practical selector; the Z3 1.9. This gear lever gives a tighter shift than the original E30 unit, without making the car feel too much like your mum's Hyundai.
Parts
For the vast majority of E30 models, this parts list is everything you need to not only fit a short shift kit but to recondition and firm up the existing gear mechanism. However, this is for facelift cars; if your car was made before 1987 then you may need different parts. Check out the shifter variations for more info.
| Description | Part Number | Price (£) | Quantity | Total Price (£) | |
|---|---|---|---|---|---|
| Recondition Parts | Gear selector rod joint | 25 11 7 501 309 | 14.39 | 1 | 14.39 |
| Dowel pin | 23 41 1 466 134 | 0.29 | 1 | 0.29 | |
| O ring | 25 11 1 221 243 | 0.31 | 2 | 0.62 | |
| Spacer ring | 25 11 1 220 199 | 0.12 | 1 | 0.12 | |
| Circlip | 07 11 9 932 863 | 0.12 | 1 | 0.12 | |
| Short Shift Parts | Gear lever | 25 11 7 527 252 | 36.46 | 1 | 36.46 |
| Spacer ring | 24 11 1 220 439 | 0.30 | 2 | 0.60 | |
| Circlip | 25 11 7 571 899 | 0.37 | 2 | 0.74 | |
| Shift lever bearing | 25 11 1 220 600 | 6.08 | 1 | 6.08 | |
| New gasket | Exhaust gasket | 18 30 1 711 969 | 7.96 | 1 | 7.96 |
| Total | 67.38 | ||||
PLEASE NOTE: Check all part numbers and prices prior to ordering
The only parts that you actually need for the conversion are the ones highlighted in blue. The remainder of the parts are required if you plan to change the selector rod bush which will not be covered in this write-up as it's a good 8 hours work and much more involved than simply swapping the shifter. Here is a picture of the parts required... you can see the difference in the E30 and Z3 levers. The Z3 lever is the one on the right. The shorter throw is gained by the much greater distance between the ball joint and the selector rod joint.
Procedure
Make a start by jacking the car up and securely supporting it on axle stands at the front. First up, get in the vehicle and remove your gear shift knob. If you have an original BMW knob, it should pull straight off with a bit of force. If you have an aftermarket knob, then check with the manufacturer for removal instructions. Now remove the gear shift gaiter, this should unclip at the base and lift off. Beneath the gaiter you will see a large round rubber grommet unclip the reverse light switch and remove the grommet, it will just pull free. You should now be able to see the floor beneath your car through the hole and it should look something like the picture below.
Next you need to remove the old shifter. Get underneath the car and you will be able to see the selector rod attached to the bottom of the gear shift. The selector rod is held on by a circlip on each end. Use a screw driver to pry the old circlips off and then slide the selector rod out. Make sure you remember which way it comes out as it will only go back in one way!!!
Once the selector rod has been removed, get back inside the car to remove the old shifter. Use two screw drivers against each other to force the locking ring round to release it. You will see in the metal housing that it sits into, a couple of locating recesses, rotate the locking ring until the fat tabs of the locking ring line up with the recesses and then pull the shift lever straight up. It should come free but be careful not to hit yourself in the face with it. You can see from the picture below the double screw driver method used to unlock the locking ring.
Now we are halfway there. Take the new Z3 shifter and lubricate the ball joint with a dab of silicone grease. Also lubricate the new locking ring and then slide the locking ring over the bottom of the Z3 shifter and clip it into place over the ball joint. You should now be able to clip the new lever back into place and lock the plastic locking ring the opposite to how you removed it.
Next the selector rod needs some careful modification. We need to place a slight bend in the selector rod so that it clears the vibration damper on the prop shaft. This is caused by the extra length of the new Z3 shift lever below the ball joint. The best way to do this is to place it in a vice. As we didn't have a vice to hand, we made good use of a hammer. Place the selector rod between two supports and give it a few sharp hits with a hammer. It should look something like this.
Refit the selector rod beneath the car and replace the yellow spacer rings and circlips. Get someone to change the gears inside the car while you check underneath for clearance of the vibration damper. If the selector rod touches the vibration damper then remove it and bend slightly further.
Once everything is checked and the selector rod has been replaced, you can refit the rubber grommet, gaiter and shift knob.
Now take your car for a spin to test out your fantastic new short-shift!
Variations
For pre-facelift cars, you may find your carrier is different to the design used in the above guide.
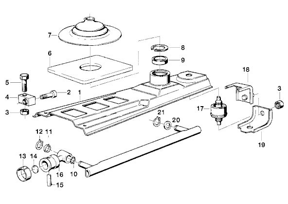
In terms of console bushings, there are three. In the diagram above, they are parts 4 and 17. It's also worth getting a couple of 2's, as they come with locking material on them (and are known to back out of the transmission). It can't hurt to get a couple 20's and 21's either, as they are easy to lose and the clips are easy to break. For a proper job, 14 is a rubber washer that wears out over time.
| Number | Part Number | Quantity |
|---|---|---|
| 4 | 25 11 1 208 580 | 2 |
| 2 | 25 11 1 205 659 | 2 |
| 9 | 25 11 1 207 744 | 1 |
| 14 | 23 41 1 466 118 | 1 |
| 17 | 25 11 1 204 422 | 1 |
| 20 | 25 11 1 209 078 | 4 |
| 21 | 25 11 1 220 379 | 2 |
For the shift lever, you really don't need any parts. You can reuse ones off of your old shifter, but you have to grind down the metal ball and it's a real chore. Considering how cheap the parts are, it's better just to get new ones.
| Number | Part Number | Quantity |
|---|---|---|
| 8 | 23 41 1 200 844 | 1 |
| 10 | 23 41 1 466 110 | 1 |
| 12 | 23 41 1 466 112 | 1 |
For installation, you're going to have to file down the inner rim of the upper ball cup to slide it down over the Z4 lever.
Written by E30Adam and copyright to www.e30zone.co.uk









